Monday April 2026

হটলাইন

সেবা এবং ধাপ

নং শিরোনাম সেবার ধাপ কার্যকলাপ
  
প্রশিক্ষণের তালিকা দেখুন
কৃষি বিষয়ক যাবতীয় তথ্য ও সার্ভিসের সেবার ধাপ প্রক্রিয়া ৩ দেখুন
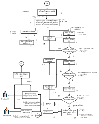
কৃষি বিষয়ক যাবতীয় তথ্য ও সার্ভিসের সেবার ধাপ প্রক্রিয়া ২ দেখুন
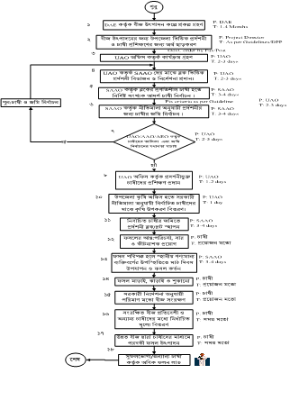
কৃষি বিষয়ক যাবতীয় তথ্য ও সার্ভিসের সেবার ধাপ প্রক্রিয়া ১ দেখুন
দেখছেন ১ থেকে ৪ পর্যন্ত, মোট ৪ এন্ট্রি

এক্সেসিবিলিটি

স্ক্রিন রিডার ডাউনলোড করুন